|
型號
|
ARA1
|
ARA2
|
ARA4
|
|
m(kg)
|
1.5
|
3.3
|
5.3
|
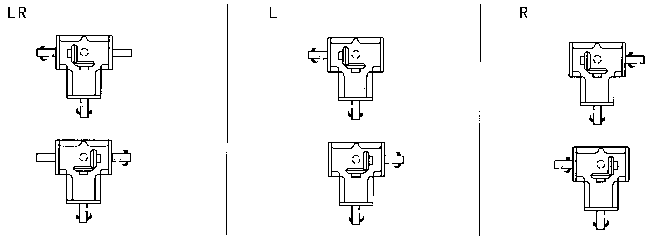
ARA系列螺旋錐齒輪轉(zhuǎn)向箱軸配置、旋轉(zhuǎn)方向關(guān)系及傳動能力表
ARA轉(zhuǎn)向器傳動能力表:
|
i
|
n1
r/min
|
ARA1
|
ARA2
|
ARA4
|
|||
|
MM2(N·m)
|
PN1(kw)
|
MM2(N·m)
|
PN1(kw)
|
MM2(N·m)
|
PN1(kw)
|
||
|
1:1
|
1450
|
7.15
|
1.11
|
12.25
|
1.92
|
31.9
|
4.94
|
|
1150
|
7.15
|
0.88
|
14.01
|
1.73
|
34.1
|
4.19
|
|
|
870
|
7.15
|
0.66
|
15.78
|
1.47
|
37.2
|
3.46
|
|
|
580
|
7.15
|
0.44
|
17.74
|
1.10
|
39.5
|
2.45
|
|
|
400
|
7.15
|
0.30
|
17.74
|
0.76
|
40.2
|
1.72
|
|
|
300
|
7.15
|
0.23
|
17.74
|
0.57
|
40.5
|
1.30
|
|
|
200
|
7.15
|
0.15
|
17.74
|
0.38
|
41.2
|
0.88
|
|
|
150
|
7.15
|
0.11
|
17.74
|
0.28
|
41.8
|
0.67
|
|
|
100
|
7.15
|
0.08
|
17.74
|
0.19
|
41.9
|
0.448
|
|
|
50
|
7.15
|
0.04
|
17.74
|
0.095
|
43.2
|
0.231
|
|
|
2:1
|
1450
|
6.95
|
0.55
|
11.96
|
0.94
|
42.8
|
3.32
|
|
1150
|
6.95
|
0.43
|
11.96
|
0.74
|
43.4
|
2.67
|
|
|
870
|
6.95
|
0.33
|
11.96
|
0.56
|
43.8
|
2.04
|
|
|
580
|
6.95
|
0.22
|
11.96
|
0.37
|
44.4
|
1.38
|
|
|
400
|
6.95
|
0.15
|
11.96
|
0.26
|
45.1
|
0.964
|
|
|
300
|
6.95
|
0.11
|
11.96
|
0.19
|
45.5
|
0.729
|
|
|
200
|
6.95
|
0.075
|
11.96
|
0.13
|
46.1
|
0.492
|
|
|
150
|
6.95
|
0.056
|
11.96
|
0.10
|
46.4
|
0.372
|
|
|
100
|
6.95
|
0.038
|
11.96
|
0.064
|
46.6
|
0.249
|
|
|
50
|
6.95
|
0.018
|
11.96
|
0.032
|
46.8
|
0.125
|
|

冀公網(wǎng)安備13092802000153號